
鋼帶浮子液位指示器(GDF型) Float liquid level indicator

鋼帶浮子液位指示器適用于不同密度不同粘度的各種介質液位指示,結構簡單、安裝方便、維護費用低。平衡指示錘采用可調式結構,現場調節方便,使設備能適用不同密度不同粘度的各種介質。
The float liquid level indicator can be used widely for various liquids, It is easy to be installed & maintained with simple structure. With adjustable structure balance weight hammer is convenient for field regulating, so the indicator can be used for the liquids of various gravity and viscosity.
鋼帶浮子液位指示器“技術參數”
<>
型號 Type | 儲罐容積m3 TankCapacity | 標尺參考高度 Ruler Length |
FZQ-100 | 100 | 7050 |
FZQ-200 | 200 | 7110 |
FZQ-300 | 300 | 8676 |
FZQ-400 | 400 | 8850 |
FZQ-500 | 500 | 10660 |
FZQ-700 | 700 | 11840 |
FZQ-1000 | 1000 | 12680 |
FZQ-2000 | 2000 | 14256 |
鋼帶浮子液位指示器“法蘭標準” Flange standard
GB. HG. SH. HGJ. JB. ANSL. JIS等標準。(用戶指定,請注明壓力等級)
GB. HG. SH. HGJ. JB. ANSL. JIS standard. (user specified, please indicate thepressure rating)
鋼帶浮子液位指示器“訂貨須知” Ordering instructions
1. 訂貨時請注明產品尺寸. 操作壓力及材質。
Please specify when ordering the product size, operating pressure and material.
2. 當需要其他標準法蘭. 材質或操作壓力時,請在訂貨時注明。
When the need for other standard flange, material and operatingpressure, please specify when ordering.
鋼帶浮子液位指示器“特點” Characteristic
1. 結構簡單. 讀數直觀;
Simple structure, intuitive readings.
2. 測量范圍大. 安裝方便;
Large measuring range, convenient installation.
3. 耐腐蝕;
Corrosion resistance;
鋼帶浮子液位指示器“主要技術參數” Main technical parameters
1. 測量范圍:0~20m(或客戶指定要求選用);
Measuring range: 0 ~ 20M (or customer specified requirements selection);
2. 指示精度:±20mm;
Pointing accuracy is ± 20mm;
3. 工作壓力:常壓或200 mmH2O水柱;
Working pressure: 200 mmH2O water column pressure or;
4. 使用介質溫度:-30~+3000C;
The use of medium temperature: -30 ~ +3000C;
5. 使用介質密度:不小于0.6g/㎝3;
The use of medium density: not less than 0.6g/ cm 3;
鋼帶浮子液位指示器“原理結構” The principle structure
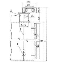
1. 液位計是根據力平衡原理來測量容器內的液位的,在力平衡狀態下,當液位處于某一高度時,浮標重量W減去浮標浸在液體中的浮力F. 減去重錘重量W1,減去測量系統中的摩擦力f等于零, W-F-W1-f=0或W1=W-F-f,重錘指示的即為容器內的液位高度;
Liquid level meter is to measure the liquid level in the container according to the principle of force balance, in the balance state, when the liquid level is at a certain height, W weight minus buoy buoy is immersed in liquid buoyancy F. minus W1 minus the hammer weight, friction measurement system f is equal to zero, the W - F - W1 -f=0 or W1=W-F-f the weight indicator, which is the height of the liquid level in container;
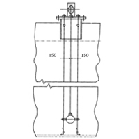
2. 液位計由標尺. 重錘指針. 導輪. 導向鋼絲及浮標等組成;
Liquid level gauge from the scale. The hammer. The pointer. A guide wire and buoy;
鋼帶浮子液位指示器“安裝” Installation
1. 兩根導向鋼絲必須平行,與容器底邊垂直,兩端需要固定與拉緊;
Two guide wire must be parallel, vertical and container bottom, both parties need fixing and tensioning;
2. 鋼帶浮標處在容器底部時,垂錘指針應指向零位,浮標處在液位上限時,垂錘指針應指向滿量程;
Strip the buoy at the container bottom, vertical hammer pointer pointing to zero, the buoy at the level cap, vertical hammer pointer pointing to a full-scale;
3. 出廠液位計為裝零部件,客戶自行就地安裝;
The factory level gauge is installed components, the client to be installed;
閑聊消聲器微穿孔消聲器
2016-05-31快速接頭全面了解
2016-06-09風機消音器達到良好的消音效果
2017-03-23浮動出油裝置意味著好油的質量檢查
2016-06-29蒸汽消聲器,以避免蒸氣和液體的振動和噪音
2016-08-02排氣消聲器創造理想的環境,安裝說明要知道
2017-03-23磁性浮子液位計和分析工業熱電偶安裝注意事項的特點
2016-08-02如何判斷好壞消聲裝置
2016-05-31日常維護檢查磁性浮子液位計非常重要
2016-08-02